Aller au contenu.
|
Aller à la navigation
Personal tools
Se connecter
Plan du site
Accessibilité
Contact
Chercher par
Dans cette section uniquement
Recherche avancée…
Navigation
ACCUEIL
CONTACT & HORAIRES
NOS SERVICES
PPF à votre service en photos
Notre comptoir
Nos Livraisons
Notre Réactivité
Notre Démarche Qualité
NOS RÉALISATIONS
NOS PRODUITS
AIR COMPRIME
ENROULEURS
FLEXIBLES HYDRAULIQUES
FLEXIBLE ONDULEUX INOX 304/316/321 - MONEL
ROBINETTERIE
ROULETTES
TUYAUX TECHNIQUES et ACCESSOIRES
NEWS & PROMO
ACTUALITES
PROMOS
Vous êtes ici :
Accueil
→
NOS PRODUITS
→
AIR COMPRIME
→
Photos air comprimé
→
Schéma DGO
Navigation
AIR COMPRIME
Enrouleurs air comprimé
Réseaux et tubes
Filtration
Coupleurs air comprimé
Photos air comprimé
Schéma DGO
ENROULEURS
FLEXIBLES HYDRAULIQUES
FLEXIBLE ONDULEUX INOX 304/316/321 - MONEL
ROBINETTERIE
ROULETTES
TUYAUX TECHNIQUES et ACCESSOIRES
PORTE A LANIERES PVC
ÉLÉMENTS DE SIGNALISATION ET PROTECTION
PNEUS PLEINS
Info
Actions sur le document
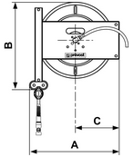
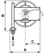
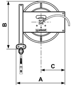
Schéma DGO
Schéma enrouleur DGO pour air comprimé
Image dans sa taille originale :
10 ko
|
Voir
Télécharger
Solution
par
Martronic